技術電話:17301986536加盟電話:13689528587

拉力傳感器MK1201
產品型號:MK1201
品牌:密克斯
量程:20kN(2t)、30kN(3t)、50kN(5t)、70kN(7t)、100kN(10t)、150kN(15t)、200kN(20t)、300kN(30t)、500kN(50t)、700kN(70t)
產品特點:MK1201拉力傳感器具有精度高,抗過載能力強,密封防潮等優點。
產品用途:MK1201拉力傳感器廣泛應用于各種吊鉤秤、港口、碼頭、起重超載保護設備等。
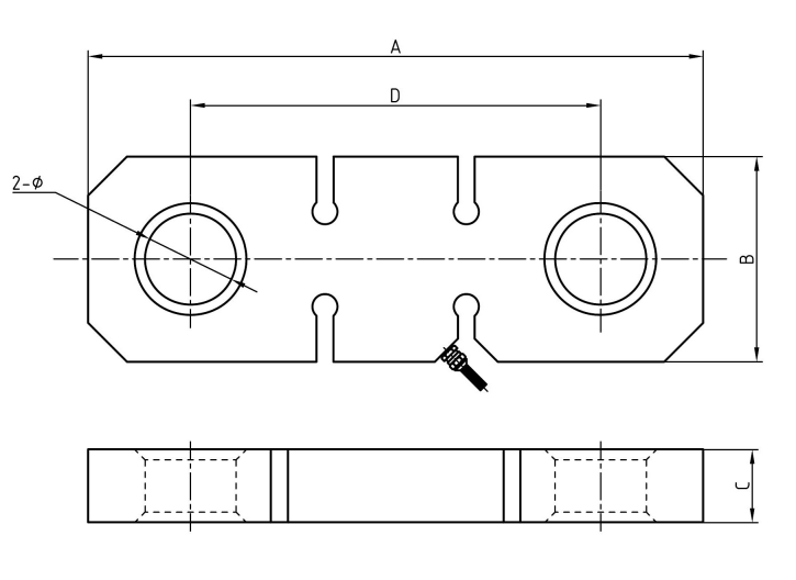
技術參數及外形尺寸:
序號 | 產品技術參數 | |
1 | 額定載荷 | 20-700kN |
2 | 綜合精度 | 0.03%F.S |
3 | 靈敏度 | 2.0mV/V |
4 | 蠕變 | ±0.03%F.S/30min |
5 | 零點輸出 | ±1%F.S |
6 | 零點溫度影響 | ±0.03%F.S/10℃ |
7 | 輸出溫度影響 | ±0.03%F.S/10℃ |
8 | 輸入阻抗 | 380±10Ω |
9 | 輸出阻抗 | 350±3Ω |
10 | 絕緣阻抗 | >5000MΩ |
11 | 工作溫度范圍 | -10~65℃ |
12 | 激勵電壓 | 10VDC |
13 | 安全過載 | 120%F.S |
14 | 材質 | 合金鋼 |
15 | 接線方式 | 紅……E+(輸入正) 黑……E-(輸入負) 綠……S+(輸出正) 白……S-(輸出負) |

型號 | 量程(kN) | 量程(t) | A | B | C | D | Φ |
| MK1201 | 20-30 | 2-3 | 200 | 65 | 25 | 130 | 32 |
50 | 5 | 230 | 70 | 30 | 150 | 36 | |
70-100 | 7-10 | 300 | 90 | 38 | 200 | 45 | |
150-200 | 15-20 | 330 | 110 | 42 | 205 | 60 | |
300 | 30 | 350 | 126 | 50 | 216 | 60 | |
500-700 | 50-70 | 500 | 180 | 60 | 320 | 72 |
密克傳感器(深圳)有限公司是傳感器源頭生產廠家,致力于稱重傳感器的研發生產。產品達百余種,廣泛應用于各種工業自動化、機器人、化工、食品、冶金以及醫療等新型和智能化高端領域。按結構分有輪輻式傳感器,S型傳感器,波紋管傳感器,法蘭盤傳感器,柱式傳感器,扭矩傳感器,橋式傳感器,平行梁傳感器,拉力傳感器等等,按功能應用場景分有試驗機專用傳感器,攪拌站傳感器,稱重傳感器,包裝機傳感器,壓裝機傳感器,皮帶秤傳感器,等等;價格美麗,可定制。
